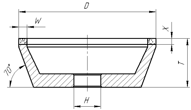
Круги алмазные шлифовальные чашечной формы 12A2-45 на органической связке
Алмазные круги на органических связках чашечные конической формы 12A2-45о применяются для заточки и доводки режущего инструмента из твердых сплавов, быстрорежущих и закаленных сталей по передним и задним поверхностям, шлифования торцов.


| D, мм | T , мм | W , мм | X, мм | H, мм |
|---|---|---|---|---|
| 50 | 21 | 3 | 2 | 16 |
| 75 | 21,5 | 6 | 3 | 16; 20 |
| 100 | 32 | 3; 6; 10 | 3 | 20; 32 |
| 125 | 28 | 10 | 6 | 32 |
| 125 | 40 | 3; 5; 10 | 3 | 32 |
| 125 | 42 | 5 | 5 | 32 |
| 150 | 40 | 5; 10; 20 | 3 | 32 |
| 150 | 26 | 6 | 3 | 32 |
| 150 | 42 | 10; 20; 40 | 5 | 32 |
| 200 | 50 | 10; 20 | 3 | 32; 51; 76 |
| 200 | 51 | 20 | 4 | 32; 51; 76 |
| 200 | 52 | 20 | 5 | 32; 51; 76 |
| 350 | 49 | 15 | 4 | 76; 127 |
| где |
| D — внешний диаметр круга, мм |
| T — высота круга, мм |
| W — ширина рабочей поверхности круга, мм |
| X — толщина алмазоносного слоя, мм |
| H — диаметр посадочного отверстия, мм |
Пример заказа:
12А2-45о 150×40×10×3×32 АС6 100/80 100% В2-01
Также мы можем предложить индивидуальное решение по запросу Клиента
Круги алмазные шлифовальные чашечной формы 12A2-30 на органической связке
Алмазные круги на органических связках чашечные конической формы 12A2-30о применяются для заточки и доводки режущего инструмента из твердых сплавов, быстрорежущих и закаленных сталей по передним и задним поверхностям, шлифования торцов.


| D, мм | T , мм | W , мм | X, мм | H, мм |
|---|---|---|---|---|
| 250 | 40 | 3,5 | 3,5 | 50 |
| где |
| D — внешний диаметр круга, мм |
| T — высота круга, мм |
| W — ширина рабочей поверхности круга, мм |
| X — толщина алмазоносного слоя, мм |
| H — диаметр посадочного отверстия, мм |
Пример заказа:
12А2-30о 250×40×3,5×3,5×50 АС6 80/63 100% В2-01
Также мы можем предложить индивидуальное решение по запросу Клиента
Круги алмазные шлифовальные чашечной формы 11A2 на органической связке
Алмазные круги на органических связках чашечные конической формы 11A2 применяются для заточки и доводки режущего инструмента из твердых сплавов, быстрорежущих и закаленных сталей по передним и задним поверхностям, шлифования торцов.


| D, мм | T , мм | W , мм | X, мм | H, мм |
|---|---|---|---|---|
| 100 | 34 | 4 | 3 | 20 |
| где |
| D — внешний диаметр круга, мм |
| T — высота круга, мм |
| W — ширина рабочей поверхности круга, мм |
| X — толщина алмазоносного слоя, мм |
| H — диаметр посадочного отверстия, мм |
Пример заказа:
11А2 100×34×4×3×20 АС6 125/100 100% В2-01
Также мы можем предложить индивидуальное решение по запросу Клиента